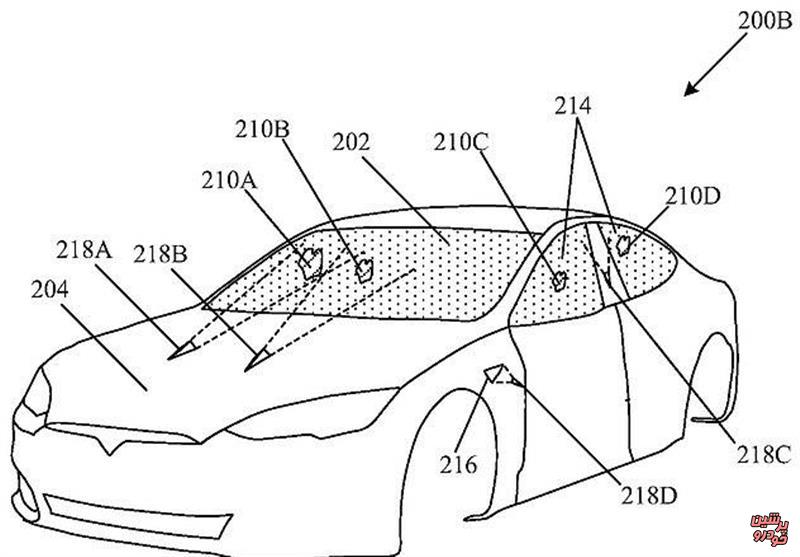
به گزارش پرشین خودرو، تحقیقات شرکت تسلا برای ساخت برفپاککن لیزری به پایان رسیده و اختراع خود را به ثبت رسانده است؛ این اختراع جدید که از فناوری لیزر بهجای برف پاککن استفاده میکند میتواند هرگونه اضافات دیگر مانند زباله را از جلوی آینه و شیشه خودرو پاک کند.
به کار افتادن این سیستم لیزری خودکار بوده و میتواند با ارزیابی میزان دید راننده عملکرد خود را تنظیم کند، در واقع این سیستم تصاویر را با استفاده از حسگرها پردازش و شروع به کار میکند؛ این روش میتواند در پاکسازی سایر سطوح مانند پنلهای خورشیدی و شیشههای خانهها استفاده شود.
در این روش، لیزر بر روی سطح تابیده شده و با رصد جرم روی سطح اقدام به حذف آن میکند؛ سطوح قابل تعریف برای عملکرد این اختراع شامل سطح شیشه، آیینهها و لنز دوربینهای خودرو میشود البته برای این منظور از هیچگونه ماده شیمیایی هم استفاده نمیشود که از مزایای این طرح است.
از نواقص طرح این است که هیچگونه توضیحی در مورد عملکرد لیزری در باران و طوفان ذکر نشده است.
منبع: تسنیم

نظر شما